v3Di                                      V3D Interaction

The Technology Leader in Volumetric 3D Display


info@v3di.com

  • Home
  • Demo ImagesClick to open the Demo Images menu
    • Demo Photo / Motion GIF
    • Demo Videos
    • Surface/Texture (gaming)
    • Volume Data (medical)
  • Technologies
  • Applications
  • Other R&D ProjectsClick to open the Other R&D Projects menu
    • Intelligent Flexible Fixturing System
    • Wheel End Wrench
    • Photo-Electroforming (MEMS fabrication)

Intelligent Flexible Fixturing System

Field:             Design / Manufacturing

Topic:             Dual Dexterous Vise (Intelligent Flexible Fixturing System)

Funding/Managing:  US Air Force Wright Laboratory (Under US Air Force SBIR award, Phase I)

Summary:

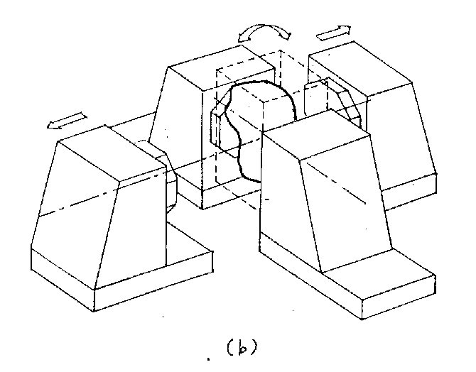
            The project features a "Dual Dexterous Vises" (DDV) system. Each Dexterous Vise has a pair of jaws that can rotate.  Each jaw has a set of plungers and hold-down clamps to ensure good gripping.  By arranging the pair of Dexterous Vises perpendicularly relative to each other, the DDV system can hold a workpiece and reveal all of its 6 faces to the machine tool without the need of many steps of refixturing, re-gaging and tool resetting.  A prototype system containing key features of the concept was designed, built and tested successfully, with project partner RAMCO Machine of Beverly MA.  Metrology assessment shows that precision of the DDV can be maintained within reasonable range during rotation and workpiece transfer from one pair of vise to the other.

 

The DDV prototype set up on the bed of a CNC milling machine (below).

 

 

Details of the jaw: Plungers (left) and hold-down clamps (right)

 

Major innovations/contributions:

-- A flexible fixturing system capable of holding odd shaped workpiece and revealing all of its 6 faces to the machine tool without the need of many steps of refixturing, re-gaging and tool resetting. 

-- Designed system can be integrated into a flexible manufacturing system and can be operated in automatic fashion in conjunction with the CNC machine tool.

-- Force balancing mechanisms, hydraulic or mechanical, on vises to ensure minimum error in holding transfer.

 

Patent / Publication:

C. Tsao, US App. Sr. No. 08/862,509, "Dual Dexterous Vise System for Rapid Prototyping and Manufacturing"

C. Tsao, US Air Force Wright Laboratory SBIR F33615-95-C-5554 Final Report, “Intelligent Flexible Fixturing System”

 

Video shots of machining a 14-face part.  Arrows indicating 1st pair of vise or 2nd pair of vise in action and the directions.

  

  

  

Solid modelng of fixturing planning and mahcining process

 

Copyright 2012 v3di.com. All rights reserved.

Web Hosting by Turbify


info@v3di.com